
彭博社报道称,Unity公司正在考虑其中国业务的各种选择,包括可能的出售,消息传出后,Unity的股价应声上涨。
据彭博社援引知情人士消息称,Unity正与顾问合作评估市场对Unity中国的收购意向,并可能寻求超过10亿美元的估值——这是一笔数额可观的资金注入。目前谈判仍处于早期阶段,最终能否达成交易尚待观察。Unity尚未对此置评。
在2月11日举行的Unity财报电话会议上,Unity高管表示,“过去一年,Unity中国的Create业务(团结引擎授权业务)增长了近50%,主要得益于与鸿蒙等中国本地操作系统平台的独特互操作性,以及与微信等热门渠道的兼容性。”

Unity于2022年8月对外公布在中国上海与一些行业领先的合作伙伴共同出资,成立合资公司Unity中国,其主要经营主体为优三缔科技(上海)有限公司,根据当时出资成立的相关报道,Unity中国成立时的公司估值为10亿美元。
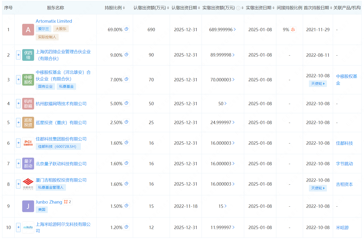
根据企查查信息显示,Unity中国最大股东为爱尔兰公司Artomatix Limited持股69%,其他持股的行业伙伴非常大牌,其中阿里持股5%,字节跳动持股1.6%,中移动持股7%,米哈游持股1.2%,手机厂商OPPO关联公司持股2.5%,吉比特持股1.6%,上市公司佳都科技持股1.6%。
从彭博此次报道来看,Unity对Unity中国业务估值超10亿美元价格并不高,而根据现有Unity中国股东来看,阿里、字节、米哈游都有可能成为主要的谈判对象,腾讯也是潜在并购方之一。
从业务协同性来考虑,腾讯在中国游戏业的利益最为巨大,同时在游戏业有着强大的发行、投资、平台、自研业务,尤其考虑到Unity中国推出的团结引擎对腾讯小游戏业务的重要3D游戏技术支撑作用,腾讯没道理不在谈判桌上。
而腾讯之外,字节跳动同样有着平台和小游戏业务,字节重点押注的AI赛道,在未来是否会进入3D数字化领域,以及Unity中国所发力的电动车车机AI领域,收购Unity中国都会是一个不错的入口。
相比之下,阿里、米哈游都有着充沛的资金储备,但收购Unity中国是否会有好的生态协同效应,取决于阿里、米哈游是否愿意接手一个工具产品,在GameLook看来,从生态发展的角度,阿里参与收购谈判的可能性也不低。而另一个科技巨头华为,由于已经投资了Cocos引擎,且Cocos本身跟Unity中国业务有一定的重叠,华为参与的可能性似乎并不高。
如果要给一个更可能的结果,GameLook认为,较大概率还是Unity中国团队将主导未来Unity中国发展,其他老股东采取收购部分股份的方式,继续保持长期合作关系,让Unity中国支持这些股东的相关业务发展。
Unity中国在成立之后,主要攻坚的方向是推出自研游戏引擎“团结引擎”,团结引擎基于Unity 2022 LTS进行改写。
根据Unity中国CEO张俊波去年8月接受GameLook采访时表示,"截止去年年中,自团结引擎1.4发布以后,已有1000多个小游戏项目已经完全转了团结引擎,其中有上百个鸿蒙的游戏转到了团结引擎。"
用户规模方面,截止2025年年中,Unity中国开发者累计注册用户达到450万,团结引擎开发者的月活是2.5万左右,团结引擎累计注册开发者则达到了40万。
而在团结引擎已取得了大量中国小游戏开发者的支持后,Unity中国于2025年4月7日发布公告确认,正式在中国大陆和港澳台地区下架了Unity 6引擎。
当时Unity中国发布公告表示:“一些中国用户注意到,Unity 6 产品已在中国大陆及港澳地区下架。Unity 6及后续版本将不再向中国用户提供,相关需求将由团结引擎承接。这一调整旨在确保开发者获得更贴合中国市场需求的游戏引擎服务。Unity 2022 LTS及更早版本将由Unity中国继续提供支持并持续维护。所有进行中和已经发布的项目均不会受到影响。基于团结引擎创建的项目,可以继续在全球发布,不受影响。”
转自GAMELOOK